Junghans ATO-Mat W794
Beschreibung

Zwei Junghans Tischuhren mit ATO-Mat W794
Links: Junghans ATO-MAT mit W794, rechts: Junghans Meister (Max Bill) mit W794a

Junghans ATO_MAT Tischuhr im Echtholzgehäuse mit Edelholzfurnier
ATO-Mat Werk W294 (die Kalibernummer wurde 1962/1963 auf W794 geändert)
Junghans war immer früh an der Entwicklung elektrischer und elektronischer Uhren beteiligt. Wie aber später bei den Armbanduhren, übersprang man auch bei den Gebrauchsgroßuhren das Konzept des Unruhmotors mit mechanischen Kontakten. Diese nutzten sich schnell ab und verringerten die Zuverlässigkeit dieser Uhren erheblich. Mit der Verfügbarkeit von billigen Transistoren entwickelte man direkt ein elektronisches Werk.
Durch die Zusammenarbeit mit der französischen Firma Hatot konnte man deren Lizenzen für transistorisierte Unruhschwinger benutzen, wie man es auch bei den ATO Pendeluhren bereits erfolgreich praktiziert hatte. Die Besonderheiten der Junghans Konstruktion sind in der deutschen Patentschrift DE 1.158.453 (bereits 1958 angemeldet) beschrieben. Als Erfinder sind in diesem Patent der damalige Entwicklungsleiter Dr. Günther Glaser und sein Mirarbeiter Fritz Herr genannt.
Dieses erste Werk von 1962 zeichnet sich durch ein
aufwendiges Unruhschwingsystem aus. Es hat vier Lagersteine (je ein Loch- und Deckstein oben und
unten), ist verhältnismäßig schwer (8,6g) und hat ein hohes
Trägheitsmoment. Die dadurch bedingte hohe Lagerreibung, versucht man
durch eine magnetische Entlastung des unteren Unruhlagers zu
kompensieren. Dazu sind zwei Magnete, einer an der Unruhwelle und einer
fest am unteren Zapfenlager montiert.
Die Unruhfrequenz beträgt 2Hz oder 14400A/h (Halbschwingungen pro Stunde), die Amplitude bei voller Batterie ca. 270° bzw. 240° mit einer ebenfalls möglichen 1,35 Volt Quecksilberbatterie (Mignon). Gegenüber dem Spulensystem befindet sich ein Aluminiumwinkel, der als Wirbelstrombremse wirkt, damit die Amplitude stabilisiert und den Isochronismusfehler verringert. (vgl. Patent DE 1.158.453)
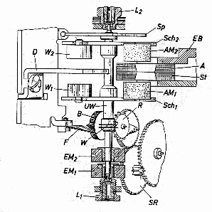
Die Schwingbewegung wird durch eine Schaltweiche auf der Unruhwelle gleichgerichtet und bewegt ein Schaltrad(R) aus Kunststoff. Dieses wird durch eine Rastfeder(F) so gesteuert, dass es außerhalb des Nulldurchgangs der Unruh, keinen Kontakt zur Schaltweiche hat. Die Unruh schwingt daher zum größten Teil frei. Über ein Zwischenrad wird die Bewegung zum Sekundenrad(SR) übertragen und von dort aus wie üblich über das Kleinbodenrad auf das Minutenrad, Wechselrad und Stundenrad. Obwohl in dem Gebrauchsmuster DGM 1.856.986U auch eine Getriebeanordnung mit Sekundenzeiger beschrieben ist, sind mir keine ausgeführten Werke mit Sekundenzeiger bekannt.

Die Elektronik dieser Uhr ist in einem Elektronikblock fest vergossen (vgl. Gebrauchsmuster DGM 1.841.889U).
Sie besteht neben dem Spulensystem (Antriebs- und Steuerspule) nur aus einem
Transistor und einem Neutralisationskondensator, der ungewollte
Schwingungen durch Rückkopplung verhindert.
Varianten
Dieses erste ATO-MAT Werk wurde ursprünglich (1962) unter der Kaliberbezeichnung W294 gefertigt. 1962/1963 hat aber Junghans die Werknummerierung geändert. Aus Werk 2xx wurde W7xx, also hier wurde aus W294 dann W794.[4]
| W794 [1] | W794a [2] | Stundenrohrlänge | Zeigerstellung | Batterie [3] |
|---|---|---|---|---|
| 794.10 | 794.20 | 17,7 | vorn | Baby-Zelle |
| 794.12 | 794.22 | 17,7 | hinten | Baby-Zelle |
| 794.14 | 794.24 | 17,7 | hinten | Mignon-Zelle |
| 794.18 | 794.28 | 17,7 | dampfdichte Küchenuhr | Baby-Zelle |
| 794.05 | 794.25 | 12,85 | hinten | Baby-Zelle |
| 794.09 | 794.29 | 12,85 | hinten | Mignon-Zelle |
| 794.06 | 794.26 | 23,2 | hinten | Baby-Zelle |
| 794 07 | 794.27 | 23,2 | vorn | Baby-Zelle |
| 794.19 | 794.30 | 23,2 | hinten | Mignon-Zelle |
Die Werke waren i.d.R. mit einer Klarsichkapsel abgedeckt. Die Werke mit Mignon-Zelle hatten aber eine Messingkapsel und eine spezielle Batteriehalterung (siehe Gebrauchsmuster DGM 1.851.197U)
Verbesserungen gegenüber dem Werk 794 und Abarten [2]
[a] Neue, leichtere Unruh: geringere Bruchgefahr, geringerer Stromverbrauch
[a] Neue Unruhlagerung: schnellere Montage und Justierung der Unruh
[b] Neue Feinregulierung: sofort wirksam, ohne toten Gang
[c] Neue Rücklaufsperre: das Justieren der Rücklaufsperrfeder entfällt
| W794 | W794a | |
|---|---|---|
![]() |
![]() |
|
| [a] | ![]() |
![]() |
| [b] | ![]() |
![]() |
| [c] | ![]() |
![]() |
[1] nach: Reparaturanleitung Werk 794 (Junghans Service Mappe)
[2] nach: Werkteile Werk 794a (Junghans Service Mappe)
[3] Baby-Zelle: R14, 1.5V Braunstein-Zink Element (damals: Pertrix 235)
Mignon-Zelle: MR6, 1,35V Quecksilberoxid-Zink Element (damals: Mallory ZM 9)
[4] vgl. Lixfeld (Hrsg.): Uhrzeiten - Innovationen in Technik und Design, Schramberg: 2011
Patente
Liste der deutschen Patente und Gebrauchsmuster (sortiert nach Anmeldedatum)
| Veröffentl.- nummer | Anmelde- datum | Erfinder | Anmelder/Inhaber | Titel |
|---|---|---|---|---|
| DE 1.158.453B | 17.12.1958 | HERR FRITZ GLASER DR GUENTHER | JUNGHANS GEB AG | Kontaktlos gesteuerte Gangordner-Anordnung fuer zeithaltende elektrische Geraete, insbesondere elektrische Uhren |
| DE 1.841.889U | 24.02.1961 | JUNGHANS GEB AG, DE | ANTRIEBSELEMENT FUER ELEKTRISCH ANGETRIEBENE GANGREGLER. | |
| DE 1.837.084U | 01.03.1961 | JUNGHANS GEB AG, DE | VORRICHTUNG ZUM ANWERFEN EINES ELEKTRODYNAMISCHEN UNRUH-GANGGREGLERS. (in frühen Werken W294 verwendet) | |
| DE 1.842.291U | 04.03.1961 | JUNGHANS GEB AG, DE | VORRICHTUNG ZUM ANWERFEN EINES ELEKTRODYNAMISCHEN UNRUH-GANGGREGLERS. (wahrscheinlich nicht verwendet) | |
| DE 1.851.197U | 10.08.1961 | JUNGHANS GEB AG, DE | BATTERIEHALTERUNG BEI ELEKTRISCHEN UHREN. | |
| DE 1.856.986U | 14.11.1961 | JUNGHANS GEB AG, DE | UHR, VORZUGSWEISE ELEKTRISCHE UHR, MIT EINEM WAHLWEISE MIT ODER OHNE ZENTRALSEKUNDE AUSFUEHRBAREM WERK. | |
| DE 1.860.088U | 12.12.1961 | JUNGHANS A G UHRENFABRIKEN GEB, DE | VORRICHTUNG ZUR FEINREGULIERUNG VON UNRUH-UHREN. | |
| DE 1.864.566U | 05.07.1962 | JUNGHANS GEB AG, DE | LAGERSCHRAUBE FUER MIT ZAPFEN VERSEHENE UNRUHWELLEN. |
Literatur
- Junghans Kundendienst-Mappe [Junghans1965]
Reparaturanleitung W794
Werkteile W794a (1965) - o.A.: Das Junghans ATO-MAT-Werk
in: "Die Uhr" Heft 18, 1962








