Junghans ATO-Mat W736
Beschreibung
Das letzte Werk der ATO-Mat Serie von 1976 zeichnet sich durch eine hohe Verwendung von Kunststoffteilen aus.
Die Unruhfrequenz wurde auf 4Hz (28800A/h) verdoppelt, das Trägheitsmoment
der Unruh aber fast halbiert. Die Amplitude musste auf ca. 180°
verringert werden. Insgesamt hat sich die Unruhenergie nochmals
erhöht, was sich in Zusammenhang mit der höheren Frequenz in einer
höheren Gangkonstanz äußert. Da die Einbaulage dieser Werke in der
Regel senkrecht ist, wird nur das untere Unruhlager mit einem Stein
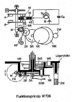
versehen. Die Elektronik und die Anordnung der Räder hat sich seit
1962 nicht wesentlich geändert. Nur die Rastfeder(RF) wirkt jetzt
direkt auf das Schaltrad(RR).
Die Elektronik ist auf einer gedruckten Schaltung untergebracht, die gleichzeitig auch
als hintere Lagerplatine dient. Sie ist bereits für mehrere
Schaltungsvarianten vorgesehen. Neben der bekannten Eintransistor
Schaltung (736.00-2900) gibt es noch die Möglichkeit, eine Diode zur
Amplitudenstabilisierung einzusetzen (736.00-3900). Im allgemeinen wird
auf den Selbstanlauf der Unruh verzichtet und ein auf der Werkkapsel
angebrachter Anwurfhebel verwendet. Es gibt aber auch die Möglichkeit
den Selbstanlauf über ein RC-Glied zu erzwingen (736.00-4900). Als
letzte Variante kann auch eine Integrierte Schaltung TAA780 von
Intermetall(ITT) eingesetzt werden (736.00-5900). Sie ermöglicht
zusätzlich eine Spannungsstabilisierung [Intermetall1972].
Dieses Werk hätte durchaus die Tradition der ATO-Mat Werke von Junghans weiterführen können. Aber dazu kam es nicht mehr. Bereits bei Erscheinen 1976 gab es die zweite Generation des Quarzwerkes von Junghans (Kaliber W751 nach W750 im Jahr 1973), welches gleiche Abmessungen und teilweise austauschbare Einzelteile hatte. Trotz des höheren Preises hatte die Anzahl der produzierten Quarzwerke mit denen der transistorisierten gleichgezogen und die Ära der elektromechanischen Werke ging zu Ende.
Patente
Liste der deutschen Patente und Gebrauchsmuster (sortiert nach Anmeldedatum)
| Veröffentlichungs- nummer | Anmelde- datum | Erfinder | Anmelder/Inhaber | Titel |
|---|
